JB/T 6412-1999
发布日期:2022-03-18 来源:软旗科技 分类: 服务项目#本文转载自《中国机械行业标准 排风柜 JB/T 6412-1999》,仅供相关行业学习交流,不做为商业用途。如有侵权请联系删除#
前 言
本标准是对ZB J72 049—90《排风柜型式与基本参数》、JB/T 5150—91《排风柜试验方法》和JB/T 6412—92《排风柜技术条件》进行的修订。
本标准自实施之日起代替ZB J72 049—90、JB/T 5150—91和JB/T 6412—92。
本标准由全国冷冻设备标准化技术委员会提出并归口。
本标准负责起草单位:同济大学、宜兴市展宏环保设备有限公司。
本标准主要起草人:李强民、曹秋萍。

1 范围
本标准规定了排风柜的型式、基本参数和尺寸,技术要求、试验方法和检验规则及标志、包装、贮存。
本标准适用于工厂制造的排风柜。
本标准不适用于工业通风系统中的局部排风罩。
2 引用标准
下列标准所包含的条文,通过在本标准中引用而构成为本标准的条文。本标准出版时,所示版本均为有效。所有标准都会被修订,使用本标准的各方应探讨使用下列标准最新版本的可能性。
GB/T 13306—1991 标牌
JB/T 9065—1999 冷暖通风设备包装 通用技术条件
JB/T 7246—1994 冷暖通风设备外观质量
3 定义
本标准采用下列定义。
控制浓度
定排风柜排泄量的指标。当排风柜正常运行时,将排风柜内示踪气体释放器的流量调节到4.0 L/min,在排风柜前操作人员呼吸带测得的SF6示踪气体浓度。
4 型式
4. 1 排风柜按气流组织形式分为标准型和补风型两种。按功能需要分为台式排风柜和双面式排风柜两种。按工作台面材质分为玻璃钢、不锈钢、陶瓷和铅四种。
排风柜型式的代号应符合表1的规定。
表1

4. 2 排风柜型号由大写汉语拼音和阿拉伯数字组成,具体表示方法如下:

型号示例:
FGB–120B 即补风型排风柜,玻璃钢工作台面,外形宽度1200 mm
FG–150G 即标准型排风柜,不锈钢工作台面,外形宽度1500 mm
5 基本参数和尺寸
5. 1 排风柜性能参数应符合表2的规定。
表2

5. 2 尺寸
排风柜尺寸参数应符合表3的规定。
表 3 单位mm

6 要求
6. 1 排风柜应符合本标准的要求,并按经规定程序批准的图样及技术文件制造。
6. 2 排风柜的面风速应分布均匀,其最大值、最小值与算术平均值的偏差应小于15%。
6. 3 排风柜控制浓度应小于0.5 mL/m3。
6. 4 排风柜阻力应小于70 Pa。
6. 5 排风柜外形尺寸允许偏差为±3 mm。
6. 6 排风柜内部有效高度的允许偏差为±3 mm。
6. 7 排风柜的平面度在全长范围内应不大于表4的规定。
表4 单位:mm

6. 8 排风柜的油漆质量应色彩调和、耐久、漆膜附着力强,结合牢固,不应有气泡、流痕、绉纹等缺陷,按7.8方法试验后,漆膜脱落格数不超过17%。
6. 9 排风柜的操作门应启动轻便,无卡阻,并可停留在行程范围内的任何位置。
6.10 排风柜的工作台面应坡向水池。
6.11 排风柜应配备照明设备、风机开关、电源插座、指示灯、给水排水装置,并留有供气管道的孔口。
6.12 带电体与外露金属绝缘电阻大于2 MW,在1500 V试验电压下持续1 min无击穿或闪络。
6.13 排风柜用玻璃钢、薄钢板或不锈钢以及其他抗腐蚀型号的复合材料制造。
6.14 玻璃钢构件氧指数应大于27。
6.15 排风柜内与腐蚀性介质接触的表面应选用表面耐酸、耐碱、耐高温的材料。
6.16 排风柜的外观质量应符合JB/T 7246的有关规定。
6.17 电源电压偏差在±10%时,排风柜应能正常启动。
6.18 排风柜的标准件、外协件及外购件均应符合有关的规定,并附有合格证。
6.19 在用户遵守产品说明书中各项规定的条件下,从制造厂发货之日起18个月内,实际使用时间不超过12000 h,产品因制造质量不良发生损坏或不能正常工作时,制造厂应免费修理或更换。
7 试验方法
7. 1 流动显示试验
7.1. 1 试验条件
试验应在室内进行,且在距排风柜1.5 m范围内应无超过0.1 m/s的横向气流干扰。
7.1. 2 试剂
四氯化钛试剂。
7.1. 3 试验步骤
将排风柜柜门处于最大开启度,用蘸有四氯化钛(TiCl4)的棉签在排风柜工作台面、内侧壁面及内顶面上画平行于柜门的直线,其距柜门均为150 mm,在排风柜的背壁面上画一个直径为200 mm的圆,圆心位于柜壁的几何中心,柜内所有设备表面上均涂上四氯化钛。当排风柜正常运行时,白色烟雾应能全部通过排风口排出,无外溢。
7. 2 面风速试验
7.2. 1 试验条件
同7.1.1。
7.2. 2 试验仪器与材料
热球式电风速仪、记录表格、胶带纸、细线和2 m钢卷尺。
7.2. 3 测试步骤
打开排风柜上部调节阀门,并将柜门处于最大开启度,启动排风机并调节排风机出口阀门,用标定有效期内的热球电风速仪测量操作口断面风速,风速平均值为0.4~0.5 m/s。
操作口断面按图1划分成不少于16个矩形测区,每个测区面积应小于0.09 m2,测点设在各测区的对角线交点上。

图1
7. 3 补风量测定
7.3. 1 试验仪器
热球电风速仪。
7.3. 2 测量方法
调节送风阀,用热球电风速仪测定补风型排风柜的补风量,送风管断面测点布置如图2所示。

R0—送风管半径(mm); R1=0.866 R0; R2=0.5 R0
图2
7.3. 3 调试要求
使补风量达到额定值。
7. 4 浓度试验
7.4. 1 试验条件
7.4. 1. 1 试验室通风条件
试验室的送风、排风及排风柜的排风应正常,并应符合7.1.1的要求。
7.4. 1. 2 排风柜条件
排风柜柜门应全开,对于补风型排风柜,补风系统应处于运行状态,补风量调节到额定值。
7.4. 1. 3 试验室内示踪气体的背景浓度控制在排风柜控制浓度的10%以下。
7.4. 2 试验仪器与材料
微风速仪:量程0.05~10 m/s。
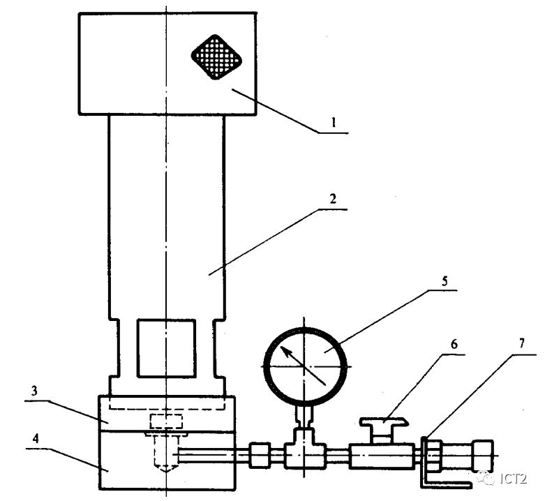
释放器:见图3。
探测器:量程0.01~100 mL/m3,响应时间不超过10 s。
自动记录仪:读数精度为全量程的±0.5%。
示踪气体:六氟化硫(SF6)。
人体模型:着装立体,身高168 cm±6 cm,肩宽43 cm±2 cm,呼吸带高度150 cm,肩高138 cm±6 cm。
探测器读数的精度要求:
示踪气体的浓度为0.01~0.1 mL/m3时,为±25%;示踪气体的浓度为0.1mL/m3以上时,为±10%。
对示踪气体的浓度为50 mL/m3以上且可以重复读数时,为±1%。

1— 出口散流器; 2—释放器; 3—上喷管减压器; 4—下喷管减压器;
5—压力表; 6—调压器; 7—释放器支架
图3
7.4. 3 测试步骤
开启探测器,稳定后,材料试验室示踪气体的背景浓度,至符合7.4.1.3的要求,再按下列步骤进行。
选用释放器的流量为4 L/min。将释放器的上游压力调节到200 kPa。
功能测试:试验前,用低浓度示踪气体对探测器进行标定,如果探测器不能正确响应,则应修正后再进行试验。
释放器依次安装在柜门内左、中、右三个位置。在左边位置,释放器轴线距离左内侧壁面300 mm;在中间位置,释放器轴线到两内侧面的距离相等;在右边位置,释放器轴线位置距离右内侧壁面300 mm,在此三个位置上,释放器前缘距离柜门均为150 mm,见图4。

图4
先测中间位置,人体模型安装位置如图4所示,使人体模型正对释放器,人体模型的鼻尖距柜门外侧平面25 mm。
固定探测器测针位置,使其针梢位于人体模型面部的鼻与嘴之间的区域内,测针长轴平行于柜门,测针针梢距地面高度为1500 mm,如图5所示。测针用金属丝或实验室专用的环架夹钳固定,将测针接近人体模型的呼吸带时,应确保人体模型周围的气流流型,不受干扰破坏。

测针位于人体呼吸带内并平行于柜门平面
图5
打开示踪气体控制阀。
观察并考虑探测器读数10 min,采用人工或自动记录均可。采用人工记录时,每隔2 min记录读数一次。
7.4. 4 分别在左、右边位置上重新布置释放器和人体模型位置。对于每个测试位置,重复7.4.3的试验步骤。
7.4. 5 计算方法
计算三个测试位置各自读数的平均值,取其最大值作为排风柜的控制浓度。
排风柜的性能额定值表示成XX AM YYY的形式。XX表示追踪气的气体的释放量,单位为L/min;YYY表示排风柜控制浓度,单位为mL/m3,AM表示在实验室条件下测定的工况。
7. 5 阻力试验
7.5. 1 试验条件
同7.4.1.1及7.4.1.2。
7.5. 2 试验仪器
在标定有效期内的毕托管及倾斜式微压计。
7.5. 3 测试方法
在排风柜顶部用方接圆接头连接一直径为200~300 mm的圆形管道。管道长为1400~2500 mm,在圆管上离接头800~1500 mm处留测孔,管内断面测点布置如图2所示。
保持排风柜面风速为0.4~0.5 m/s,用毕托管测出各测点的全压值和动压值,分别取其平均值作为管道内的全压值p和动压值pd。
7.5. 4 计算方法
由公式1求得测点断面的速度,其中r为空气密度。

由断面速度v求得方接圆接头的局部阻力和测点前圆管的沿程阻力。
排风柜阻力由下式计算:

式中: p2——排风柜阻力, Pa;
p——测点全压值, Pa;
pm——方接圆接头的局部阻力, Pa;
p1——测点前圆管的沿程阻力, Pa。
7. 6 流动显示试验、面风速测试验、控制浓度试验、阻力测量试验和补风量的测试试验按第7章的有关规定。
7. 7 绝缘电阻试验:在常温、常湿条件下,用500 V绝缘电阻计测定风机盘管带电部分与非带电金属部分之间的绝缘电阻。
7. 8 漆膜附着力的试验:在箱体外表面任取长10 mm、宽10 mm的面积,用新刮脸刀片纵横各划11条间隔1 mm、深达底材的平行切痕,用划痕范围内漆膜脱落的格数对100的比值评定。每小格漆膜保留不足70%视为脱落。
8 检验规则
8. 1 排风柜的检验分出厂检验、型式检验和抽样检验。
8.1. 1 在下列情况之一应进行型式检验:
a)制造的新产品或转厂生产的老产品;
b)正式生产后,当结构、工艺和材料有较大改变可能影响产品性能时;
c)产品停产三年后再次生产时。
8.1. 2 排风柜各类检验按表5规定。
8. 2 排风柜抽样检验按表6规定。
表5

表6

9 标志、包装与贮存
9. 1 每台排风柜的标牌按GB/T 13306的有关规定,并标有下列内容:
a)制造厂名称;
b)产品型号及名称;
c)主要技术参数:面风速、阻力、外形尺寸;
d)制造日期;
e)产品编号。
9. 2 每台排风柜应在明显部位贴有商标。
9. 3 排风柜包装应按JB/T 9065的有关规定。
9. 4 排风柜应贮存于干燥、通风的仓库内,防止产品受磕碰。


