ASHRAE 110-2016 之AM测试(下)
发布日期:2024-04-11 来源:软旗科技 分类: 技术文章3、示踪气体测试
示踪气体的测试是ASHRAE 110 测试方法最重要的部分,它可以更客观评价通风柜污染物控制的性能。示踪气体测试包含三个测试:示踪气体测试(左中右),周边扫描测试和调节门开关测试。

SF6示踪气体测试
ASHRAE 110-2016在示踪气体测试方面做了详细的规定:
【示踪气体】
采用SF6或者分子质量相似和稳定的其他气体,示踪气体浓度大于99%。示踪气体的释放率为:在30 psig压力下,为4.0 Lpm(67 mL/s);
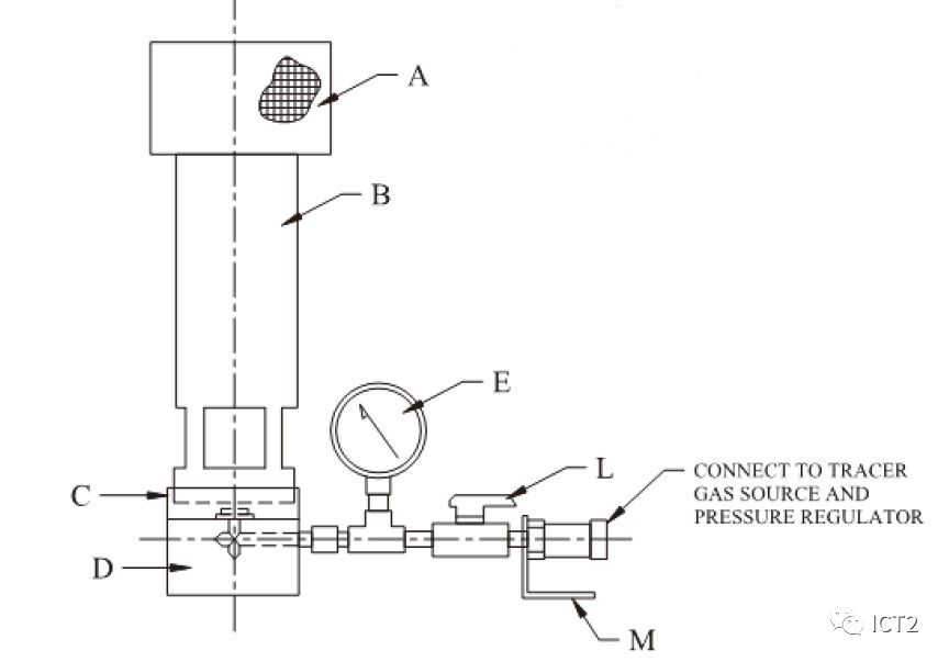
【气体释放器】
给出了标准的图纸。参考ASHRAE 110-2016 FIGURE 4.1-4.6

SF6释放器
【SF6分析仪】
仪器对示踪气体分析要有专一性;分析仪的量程至少为0.01-20. ppm;仪器数据输出可以连接到数据记录仪,数据输出频率至少每秒1个数据。分析仪采样口内径应小于12mm。分析仪在使用前后还需要进行校准。
【假人】
假人肩宽为17±2 in. (430±50 mm);假人的双臂需下垂在两侧;假人外观需要有人的特征,身上穿戴实验室特有的装饰。
满足以上条件后,我们就可以进行示踪气体测试了。
A、示踪气体测试
第1个测试为示踪气体测试,分别将释放器和假人放在左,中,右三个位置,SF6示踪气体分析仪取样口位于嘴巴处,示踪气体释放,进行5分钟的测试和数据记录。
这部分测试也主要借助软件的帮助,收集左中右三个位置,5分钟的SF6检测数据。

假人和释放器位置

假人和SF6释放器位置:左,中,右

释放器和假人位于左边SF6测试结果
*此截图来源于ASHRAE 110性能测试软件-ALC Collegedale

释放器和假人位于中间SF6测试结果
*此截图来源于ASHRAE 110性能测试软件-ALC Collegedale

释放器和假人位于右边SF6测试结果
*此截图来源于ASHRAE 110性能测试软件-ALC Collegedale
值得一提的是,欧洲EN 14175测试规范认为不需要使用假人,理由是人的体型有差异,假人模型不能代表所有人的体型。
但根据ASHRAE110,放置假人的目的是为了反映有人在通风柜前操作时,操作人和柜前区域形成的涡流是否能够影响通风柜对污染物的控制性能。
B、周边扫描测试
示踪气体分析的第2个测试为周边扫面测试。SF6释放器放置于中间位置(边沿距离调节门面150mm),调节门位于设计高度,SF6释放率为30psi,4.0 LPM。手持SF6分析仪匀速沿窗扇绕一周,探针距离边沿25mm,移动速度不能超过75 mm/s。

ASHRAE110-2016关于周边扫描的描述

周边扫描检测示意图
同样的,我们通过专业的软件来收集这些检测数据。

释放器和假人位于中间SF6周边扫描测试结果
*此截图来源于ASHRAE 110性能测试软件-ALC Collegedale
C、调节门运动污染物控制性能测试
示踪气体分析的第三个测试为调节门运动污染物控制性能测试。
放置SF6释放器和人体模型至测试位置;调节SF6释放气压,4.0LPM(67Ml/S)/30psi; 预先释放SF6气体,关闭调节门60s;开始程序测试;关闭调节门60s,然后打开至设计工作高度60s,重复3次;关闭30s,然后结束测试。

调节门运动污染物控制性能测试
同样的,我们通过专业的软件来收集这些检测数据。

释放器和假人位于中间SF6调节门运动污染物控制性能测试结果
*此截图来源于ASHRAE 110性能测试软件-ALC Collegedale
四、对测试的一些见解和建议
ASHRAE 110作为目前最为通用和流行的测试方法,它包含的测试方法可行性高,精确度好,通过这些测试方法可以对通风柜性能做出客观的评估。
整个测试过程其实并不算复杂,测试方法相比于EN14175,更具可行性。特别是面风速测试和示踪气体测试。
烟雾测试作为可视化测试的方法,它主要的优势是直观,但劣势是结果的描述主观性强。在整个测试过程中,烟雾发生器的选择可能会直接影响到测试结果,特别是大烟雾测试。主要原因大烟雾发生器一般产生的烟雾量很大,在出口处,烟雾处于喷射状态。在这个测试中,应该尽可能避免大烟雾直接喷射入通风柜内,而应该缓慢释放出来,让通风柜自然排除/吸入这些烟雾。
对于面风速测试,如果在测试过程中没有设计好(硬件和软件配套),很多因素将影响测试结果。面风速测试需要测试通风柜开口整个面的风速,按照标准的规定,整个面往往需要采集很多点的数据。目前大多数厂家或者测试者使用手持的风速仪进行检测。手持风速仪检测采集位置准确性和稳定性不好控制,读数也难以记录,效率不高。事实上,我们团队所拥有的硬件和软件已经可以很好地解决这个问题了。我们可以使用风速仪传感器,将风速仪固定在铁架台上,根据软件自动生成检测面的坐标位置,然后通过软件收集这些位点的风速。整个过程自动化完成,采样点准确,读取数据客观。
对于示踪气体测试,整个过程并不是很复杂。ASHRAE 110里面对SF6分析仪的要求比较苛刻,精度0.01ppm。事实上,市面上能够满足的SF6分析仪并不多。据笔者了解,目前使用比较流行的有Tracer gas detectorQ200和Miran。根据对整个行业内专家对设备的选择,我们推荐使用D-INDUSTRIALQ200(原美国USON生产)作为示踪气体分析仪。拥有精度高,响应时间快的SF6 分析仪成为这个测试最关键部分1,3。
五、参考资料
1、https://www.flowsciences.com/two-well-known-fume-hood-containment-tests-ashrae-110-en14175-a-comparison/
2、实验室排风柜测试方法的比较与分析Comparison and Analysis of Testing Methods from Different Standardsof Fume Hood in Laboratory 李斯玮,刘东,LI Si-wei,LIU Dong- 《建筑热能通风空调》2010年3期
3、https://uson-q200.com/q200-vs-miran/


